Задание:
Начертить: а) главный вид в соединении с фронтальным разрезом; б) вид сверху в соединении с местным разрезом по отв.10; в) вид слева в соединении с профильным разрезом; г) косоугольную диметрическую проекцию детали с разрезом.
Задание:
Начертить: а) главный вид детали в соединении с фронтальным разрезом; б) вид сверху в соединении с горизонтальным разрезом по оси отв. А; в) вид слева в соединении с профильным разрезом; г) данную аксонометрическую проекцию детали.
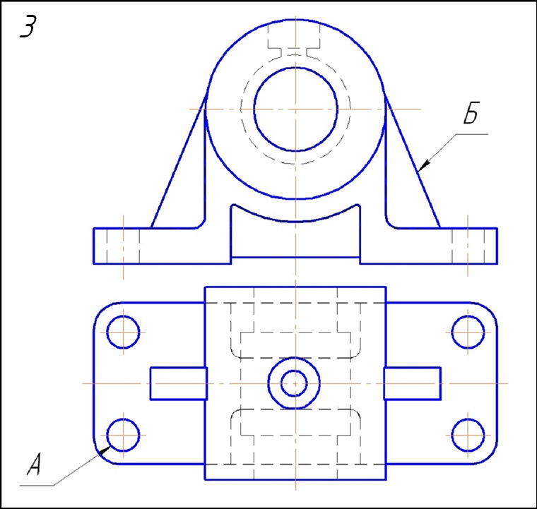
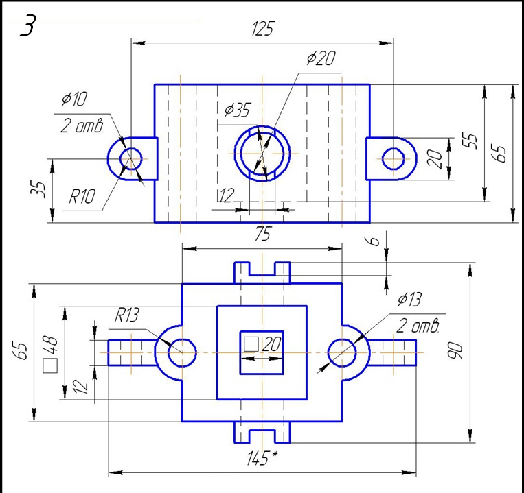
Задание:
Начертить: а) главный вид детали в соединении с фронтальным разрезом; б) вид сверху; в) местный разрез по отв. А; г) вынесенное сечение ребра жёсткости Б; д) вид слева в соединении с профильным разрезом.