- Магазин готовых работ
- Задания
- Тип: Каталог по ВУЗам
- # 47920
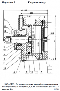
Вариант №1. Гидроцилиндр
Решение состоит:
1. 3D модели деталей № 2,5,6,8;
2. Чертежи деталей № 2,5,6,8;
3. Аксонометрия детали №2
Эта работа вам не подошла?
Вы можете заказать любую учебную работу от 100 руб!